您现在所在的位置: 首页 > Jiuyou 9(中国) > 混合Jiuyou 9(中国) > VHJiuyou 9(中国)V型混合机

 九游·官方端网站
   联系人:王总
   电话:0510-86184255
   传真:0510-86173899
   E-mail:jyjirui88@163.com
   网址:www.ysnktgp.com
   地址:江阴南闸东盟科技园东盟路8号
 
VHJiuyou 9(中国)V型混合机
VHJiuyou 9(中国)V型混合机


概述

本机适用于制药、化工、食品等行业两种以上千粉状、颗粒状物料的混和。
该机混和筒结构独特,混和效率高、无死角,采用不锈钢材料制作,内外壁抛光处理,外形美观,混和均匀,适用面较宽,并能根据用户的要求配套强制搅拌器,以适合较细的粉粒、块状、含有一定水份的物料混合之用

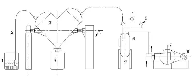
结构示意图


1.物料筒   2.吸料筒  3.混合机  4.出料筒   5.真空表   6.气体净化罐   7.真空泵  8.电动机

技术参数


本公司可按用户特殊要求定制生产,如有变动,恕不预先通知!